Некоторое время назад для студентов МГРИ-РГГРУ был подготовлен задачник с целью показать на некоторых конкретных примерах, как ошибки или недоработки инженеров-геологов и проектировщиков приводили к очень серьезным последствиям. Многие задачи, содержание которых специально расширено для публикации в журнале "ГеоИнфо", содержат уникальную, ранее нигде не публиковавшуюся информацию об истории Москвы и аварийных ситуациях, о которых было принято молчать.
В этой статье речь идет о проблемах, возникших при строительстве станции метро "Боровицкая" в 1980-х годах. Тогда многие прилегавшие к строительной площадке сооружения претерпели серьезные деформации. В том числе, пострадал Дом Пашкова и здание книгохранилища Ленинской библиотеки.
В 1980-е годы строительство станции метро «Боровицкая» привело к аварийному состоянию окружающей застройки. Речь идет о здании библиотечной типографии (XVII в.) и церкви Михаила Малеина (XVI-XVII в.), оказавшейся под землей в результате ее частичной разборки и подсыпки Ваганьковского холма перед строительством дома Пашкова. Также серьезно пострадал восточный флигель дома Пашкова (рис.1), а затем, в результате прорыва грунта при сооружении котлована для кассового вестибюля станции метро «Боровицкая», серьезным деформациям подверглось здание книгохранилища Ленинской библиотеки.

Рис. 1. Деформация флигеля дома Пашкова в результате провала грунта при строительстве вестибюля станции метро «Боровицкая»
В недалеком прошлом основной риск освоения подземного пространства исторического центра города Москвы был связан с большим водоотбором, несовершенством технологий проходки станционных и наклонных эскалаторных тоннелей, котлованов для кассовых залов, шахт. Применявшиеся тогда подходы к их сооружению могли существенно менять состояние гидрогеологической среды. Именно это и случилось в первом разбираемом в данной статье случае.
При строительстве станции метро «Боровицкая» была применена сложная схема снижения водопритоков в подземные выработки с помощью девятнадцати глубоких артезианских скважин, откачивающих воду из известняков, в которых сооружались станция и перегонные тоннели. Откачка воды в течение 5,5 лет осуществлялась также из песков с глубины 15–17 метров для блокирования их перетока через литологическое окно в известняки.
Принятая технология водопонижения, оказавшаяся достаточно нещадной по отношению к геологической среде, реализовывалась в районе улицы Волхонка, Ваганьковского и Малого Знаменского переулков и привела к откачке за весь период строительства более 19,0 млн м3 воды, что не могло не сказаться на деформации ряда памятников архитектуры и зданий исторической застройки, которые оказались в пределах мульды проседания.
Другая группа технологических методов была применена для сооружения наклонного эскалаторного тоннеля диаметром 9,5 м и котлована для кассового вестибюля глубиной 12 м. Данные элементы станции размещались на стесненном участке между зданием типографии, правым флигелем дома Пашкова, корпусом «А» библиотеки и зданием Ивановской картинной галереи.
Техногенное снижение уровня грунтовых вод вызвало снятие гидростатического давления с толщи пород, перераспределение напряжений в массиве из-за проходки тоннелей и котлованов, сдвижение части массива в процессе строительства, что привело к деформациям ряда зданий библиотеки. Результаты инструментальных наблюдений за деформациями зданий показали, что они были приурочены к зонам максимальной концентрации и интенсивности проведения горных работ (рис.2).
Общая ширина зоны осадок дневной поверхности и зданий составила около 200 м, максимальная величина осадки – 132 мм, а максимальная скорость осадки составила 11 мм/мес.

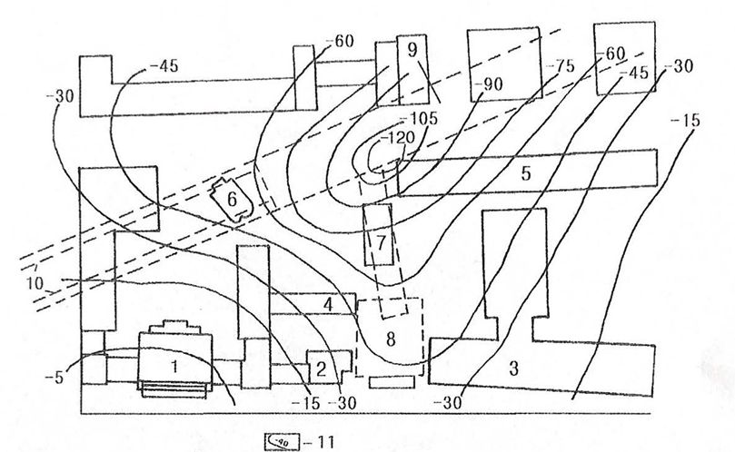
Рис. 2. Карта осадок поверхности территории Российской государственной библиотеки: 1 – дом Пашкова; 2 – флигель; 3 – корпус «А»; 4 – здание типографии; 5 – книгохранилище; 6 – церковь Николы в Старом Ваганькове; 7 – картинная галерея Александра Иванова; 8 – кассовый вестибюль станции «Боровицкая»; 9 – станция метро; 10 – перегонные тоннели; 11 – изолинии осадок дневной поверхности
В связи с вышесказанным возникают вполне закономерные вопросы: что стало причиной произошедшего и можно ли было избежать столь серьезных деформаций зданий?
Причины произошедшего достаточно понятны. Снижение уровня подземных вод привело к нарушению статического равновесия геологической среды. Вся толща Боровицкого холма, на котором располагались сооружения, находилась во взвешенном состоянии. После падения уровня воды взвешивающий эффект пропал, что привело к появлению дополнительной нагрузки на массив пород. Именно это сыграло главную роль в деформации книгохранилища и котлована кассового вестибюля станции Боровицкая.

Рис. 3. Дом Пашкова. Дореволюционная открытка. Источник: Википедия
Кроме того, при строительстве котлована, чтобы не повредить примыкающие к строительной площадке здания, была применена технология стена в грунте. Однако в те годы она была крайне несовершенна и не позволяла добиться создания герметичной конструкции, полностью отделяющей полезный объем котлована от геологической среды. Более того, по чьему-то недосмотру подпорные стены в котловане были установлены с опозданием, что привело к прорыву в него плывуна в большом объеме. А это, в свою очередь, привело к значительной разгрузке грунта под правым крылом Дома Пашкова и его значительному проседанию по сравнению с основным зданием. Только молниеносные действия метростроевцев, направленные на устройство поддерживающих правый флигель конструкций, позволили не допустить катастрофу (см. рис.1).

Рис. 4. Дом Пашкова. Наши дни. Источник: Википедия
К слову сказать, вместе с флигелем могло погибнуть еще одно историческое сооружение. Дело в том, что когда Баженов строил Дом Пашкова, ему пришлось вписать в его архитектуру стоявшую на отведенной для него площадке церковь Федора Студита XVI века. По его проекту она оказалась именно под правым крылом дома. Баженов срезал церковные главы и встроил ее в интерьер флигеля, сделав таким образом своеобразную домовую церковь. При проседании грунта она очень сильно пострадала. Свод церкви героическими усилиями работников Метростроя удалось удержать от окончательного обрушения.
После того, как плывун вышел, стенка котлована была надежна закрыта, после чего была произведена цементация разуплотненной толщи для предотвращения дальнейших деформаций окружающей застройки. С этого момента все работы, связанные с освоением подземного пространства, начали проводить с удвоенной осторожностью.
Надо сказать, что котлован для кассового вестибюля (обозначен цифрой 8 на рисунке 2) во время строительства использовался как площадка для строительства наклонного эскалаторного тоннеля к станции Боровицкая (цифра 7). И это послужило причиной еще одной проблемы. Концентрация подземных сооружений, предварительное водопонижение и увеличение дополнительной нагрузки при снятии пьезометрического давления подземных вод привело к тому, что в этом месте было резко нарушено напряженно-деформированное состояние грунтов. В этот момент начались деформации дневной поверхности. Если посмотреть на рисунок 2, то на нем видны изолинии, показывающие понижение грунта на всей прилегающей территории. Максимальные осадки составили 138 мм (на рисунке показано, что 120). Причем произошло это всего за 1 неделю. Именно в этом месте находится торцевая западная часть девятнадцатиэтажного железобетонного здания книгохранилища Ленинской библиотеки. Данная проблема оказалась гораздо страшнее и опаснее, чем деформации правого крыла Дома Пашкова. Из здания, претерпевающего серьезные деформации, со стороны Ваганьковского переулка вылетали стекла. Существовал серьезный риск выпадения металлических рам. В результате переулок был закрыт для движения.

Рис. 5. Вид Моховой и дома Пашкова в Москве, Ж. Делабарт, конец XVIII в. Источник: Википедия
Премьером страны в тот момент был Николай Рыжков. Он несколько раз приезжал к нам в штаб, расположенный прямо на строительной площадке, узнавал результаты ведущегося нами наблюдения за деформациями зданий и дневной поверхности. После ряда совещаний им было принято решение освободить здание Манежа для того, чтобы переместить туда фонды Ленинской библиотеки. Для этого планировалось на одну ночь перекрыть все прилегающие улицы и самосвалами перевести заранее подготовленные ящики с книгами.
Однако через неделю деформации внезапно прекратились, что позволило не предпринимать никаких экстренных мер, не закрывать Ленинскую библиотеку, а обойтись укреплением сооружений, чтобы не допустить их дальнейших деформаций.
Итак, основной причиной деформации правого крыла Дома Пашкова стала откачка огромного объема воды при строительстве вестибюля станции Боровицкая, а к деформациям книгохранилища привело нарушение напряженно-деформированного состояния грунтов вокруг строительной площадки, связанное с выпущенным плывуном.
Конечно, то, что Метрогипротранс предложил опережающее водопонижение – это в какой-то мере было разумное решение. Потому что когда это не было сделано ранее при строительстве соседней станции Арбатская, метростроевцы столкнулись с очень серьезными проблемами при строительстве и значительным увеличением сроков работ. Однако им нельзя было забывать про закон Архимеда, который гласит, что на тело, погруженное в воду действует выталкивающая сила. Они не учли, что после водопонижения на холм, на котором построен Дом Пашкова и другие здания, стали действовать дополнительные нагрузки от их веса.
Что касается прорвавшегося плывуна, то, к сожалению, в то время еще не было других технологий, позволявших устраивать надежную стену в грунте. Поэтому, конечно, единственное, что не было сделано – этот плывун не был своевременно обнаружен, а под зданиями Ленинской библиотеки не были проведены необходимые превентивные мероприятия, направленные на укрепление грунтов основания. Проектировщики положились на «русский авось», но не сложилось.
Подытоживая, можно сказать, что всем задействованным специалистам не хватило профессионализма для работы на этой территории, застроенной большим количеством уникальных сооружений. Проектировщикам надо было задуматься и рассчитать, к каким последствиям может привести создание многоуровневой структуры станции Боровицкая. И продумать эффективные меры защиты и в зоне эскалаторного и разгрузочной тоннелей, и кассового вестибюля. А изыскателям следовало понять, что откачки столь огромных объемов воды, которые происходили на их глазах, приведут к изменению напряженно-деформированного состояния грунтов и вытекающим из этого проблемам, коснувшимся многих старинных сооружений в историческом центре Москвы.
Кстати, вода в районе станции метро Боровицкая откачивается в настоящее время. Точный объем этих откачек неизвестен, но это, наверное, сотни кубометров в сутки.