В статье представлен аналитический обзор исследований по вопросам влияния состава и концентрации водных растворов различных солей на фильтрационные свойства глинистых грунтов. Показано, что в зависимости от минерального типа глин, минерализации и состава фильтрующихся водных растворов солей и поглощенных катионов коэффициенты проницаемости и фильтрации глин могут меняться в несколько раз или даже на несколько десятичных порядков, что необходимо учитывать при строительстве защитных дамб с глиняным ядром, шламонакопителей и хвостохранилищ.
Изучение факторов, влияющих на проницаемость глинистых грунтов, является не до конца изученной проблемой. В частности, слабо изучено влияние состава и концентрации фильтрующихся растворов, а большинство работ в этой области выполнено для воды и слабоминерализованных водных растворов солей. Установление закономерностей влияния состава и концентрации фильтрующихся растворов солей на проницаемость глинистых грунтов позволит более качественно выявлять и решать такие проблемы с минимальными денежными затратами, а также даст возможность оценить экологические риски загрязнения массива пород при захоронении сточных вод, служащих поровым раствором и взаимодействующих с водоносными и водоупорными горизонтами.
Грунтовые дамбы из глинистых грунтов, широко применяемые в качестве защитных сооружений по всему миру ввиду простоты и скорости возведения, дешевизны и удобства в эксплуатации, должны быть водонепроницаемыми по отношению к соляным растворам (рис. 1). Со временем водонепроницаемая часть дамбы (глиняное ядро, экран и диафрагма) под воздействием фильтрующихся растворов может потерять свои исходные свойства и стать проницаемой. Это ведет к огромным техническим, инженерно-геологическим, гидрогеологическим и экологическим проблемам. Чтобы прогнозировать подобные изменения и своевременно регулировать коэффициент фильтрации глинистых грунтов, использующихся в качестве ядра или экрана дамбы, необходимо изучать влияние состава и концентрации фильтрующегося раствора на их проницаемость.
Рис.1. Возведение земляной защитной дамбы
Глинистые грунты защитных дамб подвергаются воздействию растворов солей различной концентрации. Следовательно, при попытке определить фильтрационные свойства глинистых грунтов использование дистиллированной или водопроводной воды далеко не репрезентативно для реальных условий. Хорошо известно, что механическое и гидравлическое поведение глинистых грунтов может сильно зависеть от взаимодействия системы грунт-раствор (Mitchell J. K., 1993).
Кроме того, знание влияния состава соляного раствора, сдерживаемого дамбой, позволит более грамотно определить тип глинистого грунта, необходимого для его использования в качестве непроницаемой части сооружения, а также даст возможность прогнозировать дальнейшее поведение глинистого грунта при длительной эксплуатации дамб и целенаправленно регулировать коэффициент фильтрации грунта с помощью добавления химических растворов определенных концентраций. Анализ этой проблемы весьма актуален и для решения различных экологических задач, связанных с фильтрацией сквозь грунты токсичных водных растворов солей. Влияние растворов кислот и щелочей здесь не рассматривается, т.к. является предметом отдельных исследований.
В связи с этим целью настоящей работы является аналитический обзор исследований в этой области для обобщения имеющейся информации по влиянию водных растворов солей на фильтрационные особенности глинистых грунтов.
В литературе имеется большое количество экспериментальных работ, посвященных влиянию различных химических растворов на коэффициент фильтрации глинистых грунтов. Изучением влияния концентрации водных растворов солей на фильтрационные особенности различных глинистых грунтов занимались многие исследователи, в том числе Н.Ф.Бондаренко, Ф.М.Бочевер, И.А.Брилинг, Н.Н.Веригин, В.М.Гольдберг, Р.Э.Дашко, Р.И.Злочевская, В.А.Королев, Л.И.Кульчицкий, Н.Н.Маслов, В.А.Мироненко, А.М.Монюшко, С.С.Морозов, В.М.Павилонский, С.И.Пахомов, Б.Ф.Рельтов, А.А.Рошаль, П.И.Шаврыгин, В.М.Шестаков и многие др.
Одной из основных особенностей водных растворов солей является то обстоятельство, что в отличие от растворов электролитов кислот и щелочей, большинство соляных растворов имеет нейтральную реакцию среды (рН около 6,0–6,5), или близкую к ней. Поэтому, вследствие ионного обмена они могут вызывать только изменение толщины двойного электрического слоя (ДЭС) вокруг частиц, тогда как растворы кислот и щелочей могут вызывать еще и перезарядку ДЭС – смену его знака. Всё это сказывается на особенностях коагуляции частиц глинистых грунтов и изменении их микростроения, вследствие которого изменяются и их фильтрационные свойства.
Проницаемость глинистых пород меняется с течением времени. Это связано с особенностью глинистых минералов разбухать и закупоривать поровое пространство при взаимодействии с пресной водой. При фильтрации же через глинистые породы минерализованных вод это явление развито в значительно меньшей степени. Более того, в результате процессов кристаллизации солей из минерализованных вод нередко происходит рост активной пористости пород, а, следовательно, улучшение их фильтрационных свойств (Попов, Абдрахманов, 2013).
Концентрации раствора в глинистых грунтах по сечению тонких пор, особенно в случае взаимного перекрытия диффузных слоёв, распределяется неравномерно. Концентрация раствора в порах (С1) не равна концентрации объёмного раствора (С0). Направление возникающего вследствие этого капиллярно- осмотического потока зависит от величины соотношения С1/C0<1, что наиболее характерно для глинистых грунтов в сторону большей концентрации. Если тонкие поры в глинистых грунтах недоступны для молекул растворённого вещества (идеальная полупроницаемая мембрана). т.е. при С1=0, то перенос воды осуществляется только за счёт перепада осмотического давления по обе стороны глинистой мембраны в стороны раствора с большей концентрацией (Габибов, 2011).
В литературе имеется большое количество экспериментальных работ, посвященных влиянию различных химических растворов на коэффициент фильтрации глинистых грунтов. Некоторые из этих исследований сосредоточены на водных растворах солей (Сунцов, 1963, Павилонский, 1977, Березкина, 1980, Мосьяков, 1976, Petrov, Rowe, 1997, Shackelford et al., 2000, Jo et al., 2001, 2004, 2005, Kolstad et al., 2004a, Lee et al., 2005, Lee & Shackelford 2005, Mishra et al., 2005). При этом большинство исследователей указывают на то, что коэффициент фильтрации глинистых грунтов увеличивается с ростом концентрации водных растворов солей.
Влияние состава и концентрации водного порового раствора солей на проницаемость грунтов проявляется через изменение вязкости и структуры поровой жидкости, а также через изменение агрегатного состава грунта. Повышение концентрации раствора ведет к подавлению диффузной части ДЭС вокруг частиц и увеличению степени агрегированности частиц, что влечет за собой увеличение размера межагрегатных пор, а следовательно – к росту коэффициента фильтрации.
Изменение агрегатного состояния глинистого грунта влияет на его фильтрационную способность. Общий характер изменения коэффициентов фильтрации (Кф) в зависимости от засоления при учете только степени агрегированности грунта, которое приводит к преобразованию геометрии одного порового пространства, показан на рисунке 1 (Дашко, 2015). В более легких глинистых разностях при засолении порядка 1% наблюдается снижение коэффициентов фильтрации за счет диспергации породы (минимум на кривой 1, см. рис. 1). Дальнейшее засоление приводит к увеличению коэффициента фильтрации. Рост содержания глинистой фракции (Мс) вызывает менее заметное влияние диспергации на изменение коэффициента фильтрации (кривая 2 на рисунке 1). При высоком содержании глинистых частиц (Мс более 50%) идет постепенное возрастание коэффициента фильтрации породы по мере ее засоления причем гораздо менее интенсивное, чем для легких разностей (кривая 3 на рисунке 2). Эти явления объясняются тем, что агрегация в высокодисперсных грунтах незначительно влияет на увеличение размера пор, поскольку укрупнение начинается с самых тонких коллоидных фракций и постепенно распространяется на более крупные.
Рис. 2 Изменение коэффициента фильтрации (Kф) глинистых пород в зависимости от величины засоления (С) (Дашко, 2015)
Засоление литифицированных глинистых грунтов приводит к росту их микро- и макротрещиноватости, что в большой мере влияет на изменение коэффициента фильтрации грунтов. Общий характер изменения коэффициента фильтрации во времени литифицированных глинистых грунтов (например, кембрийских глин), обладающих трещиноватостью, при различных концентрациях фильтрующихся растворов приведен на рисунке 3.
Рис. 3. Общий характер изменения коэффициента фильтрации трещиноватых глинистых пород во времени в зависимости от концентрации и состава фильтрующихся растворов (Дашко, 2015): 1 — фильтрация воды и электролитов при CфCпоу
На изменение фильтрационных свойств глинистых грунтов при их взаимодействии с водными растворами солей разной концентрации также оказывают большое влияние и диффузионно-осмотические процессы. При этом важно учитывать соотношение концентрации внешнего (фильтрующегося) раствора соли (Сф) и концентрации внутрипорового раствора грунта (Сп) вследствие возможного проявления концентрационной усадки, под которой понимается уменьшение объема грунта за счет осмотического оттока из него порового раствора при условии, когда Сф > Сп. При этом уменьшается коэффициент фильтрации.
Для учета этого фактора важно знать «порог осмотической усадки» (Споу) изучаемого грунта (по Р.Э.Дашко, 2015) – концентрацию порового раствора грунта, при которой концентрационной усадки не происходит. Если концентрация внешнего фильтрующего (Сф) раствора больше порога осмотической усадки (Споу), то происходит снижение степени раскрытия микротрещин, и постепенно коэффициент фильтрации со временем уменьшается (рис 2. кривая 1). При Сф = Споу наблюдается низменность либо постепенно закрытие трещин в процессе набухания блоков глинистых пород (рис 2. кривая 2). Если же Сф ≤ Споу, то происходит увеличение степени раскрытия микротрещин и осмотический подток раствора внутрь образца, что приводит к набуханию грунта и увеличению коэффициента фильтрации (рис. 2. кривая 3).
Согласно исследованиям Р.Э.Дашко (2015), в процессе осмоса за счет концентрационной усадки отмечается постепенное уменьшение влажности глинистых грунтов различного гранулометрического состава (рис. 4). Исследования были проведены в широком диапазоне изменения концентраций растворов NaCl — 5; 50; 100; 200; 300 г/л в интервале влажностей глинистых грунтов от предела пластичности Wp до предела текучести WL. Из анализа результатов этих экспериментов следует, что интенсивное развитие осмотических процессов, приводящих к потере влаги, наблюдается при влажности грунтов выше 1,2 Wp, и по мере увеличения влажности потеря воды из грунта возрастает. Соответственно, в зависимости от влагосодержания грунта изменяется и концентрация растворов, выше которой имеет место осмотическое обезвоживание глинистого грунта. Всё это сказывается и на фильтрационных особенностях глинистых грунтов.
Рис. 4. Изменение влажности (ΔW) глинистых грунтов за счет осмоса при взаимодействии их с растворами разной концентрации (С) (по Р.Э.Дашко, 2015)
В целом зависимость коэффициента фильтрации высокодисперсных глин от концентрации электролита порового пространства в широком диапазоне концентрации носит сложный характер (рис. 5). В области малых концентраций (менее 10% NaCl) их рост приводит к увеличению Кф за счет агрегации частиц и увеличения размера межагрегатных пор. Однако дальнейший рост концентрации проводит к снижению Кф вследствие того, что при высоких концентрациях порового раствора начинает сказываться влияние его повышенной вязкости, рост которой и ведет к снижению Кф, что и наблюдается в экспериментах (Грунтоведение, 2005).
Рис. 5. Зависимость коэффициента фильтрации монтмориллонитовой глины от концентрации NaCl (по Б.В.Дерягину) (Грунтоведение, 2005)
Интересны также исследования М.А.Сунцова (1963), являющиеся, по-видимому, одной из первых гидрогеологических работ по вопросу влияния подземных вод разной минерализации на проницаемость глинистых грунтов. Эксперименты проводились на образцах четвертичного суглинка, отобранного с глубин 2,0-2,5 м; в качестве фильтрующейся жидкости использовались аналог порового раствора минерализации 35 г/л, восьмикратно разбавленный поровый раствор и дистиллированная вода. Данные фильтрационных испытаний показали последовательное снижение проницаемости суглинков при переходе от раствора минерализации 35 г/л к его разбавленному варианту и дистиллированной воде.
Вопросу влияния фильтрующейся жидкости на уплотненные глинистые грунты, используемые в качестве экранов в накопителях сточных вод для снижения фильтрационных потерь, были посвящены экспериментальные исследования В.М.Павилонского (1972). Экспериментально было установлено, что при фильтрации стоков, содержащих хлоридные и сульфатные соли кальция и натрия, проницаемость глин возрастает на 1-2 порядка по отношению к проницаемости по пресной воде (рис.6). При этом длительная фильтрация растворов солей приводила к некоторому снижению коэффициентов фильтрации за счет структурной перестройки грунтов (Павилонский, 1972).
Рис. 6. Зависимость коэффициента фильтрации раствора соли (1,2) и воды (3) от плотности скелета суглинка (по Павилонскому, 1977): 1 – максимальные значения, 2 – минимальные значения при длительной фильтрации
Р.Петров и др. (Petrov et al., 1997) показали, что коэффициент фильтрации бентонита увеличивается с 10-11 м/с до 10-8 м/с при росте концентрации NaCl от 0 н до 2 н.
Д.Ахари и др. (Achari et al., 1999) подтвердили, что концентрация ионов в фильтрующейся жидкости влияет на коэффициент фильтрации глин. Концентрация ионов в растворе влияет на объем воды, адсорбированной на частицах глины. Коэффициент фильтрации глины увеличивается, когда проникает фильтрат с высокой концентрацией ионов из-за увеличения ассоциаций микроагрегатов частиц типа «скол-скол», что приводит к коагуляции и росту размера пор.
Й.Джо и др. (Jo et al., 2001) экспериментально исследовали коэффициент фильтрации Ca-бентонита в диапазоне его плотностей скелета от 1,0 г/см3 до 1,8 г/см3. Их результаты показывают, что коэффициент фильтрации увеличивается с ростом концентрации только тогда, когда плотность бентонита является относительно низкой. Для бентонитов с плотностью 1,0 г/см3 и 1,2 г/см3, коэффициенты фильтрации при фильтрации 0,4 н раствора NaCl, увеличиваются больше, чем те, которые получаются на растворах дистиллированной воды, в 7 и 3 раза, соответственно. Однако, для бентонита с плотностью скелета выше 1,4 г/см3 концентрация раствора оказывает незначительное влияние на коэффициент фильтрации, и коэффициент фильтрации почти постоянен в диапазоне солености от 0 до 0,4 н NaCl.
Чо и др. (Cho et al., 2002) объясняют такое поведение глинистых грунтов следующим образом, при фильтрации растворов через бентонит концентрация катионов в поровой воде увеличивается, и это вызывает сжатие диффузного слоя. Сокращение толщины двойного электрического слоя может привести к изменению отталкивающих сил между глинистыми частицами. Если отдельные частицы глины свободно перемещаться, то могут произойти изменения микроструктуры из-за открытия микропор, что приводит к увеличению коэффициента фильтрации.
Кроме того, при фильтрации концентрированного раствора в глине может происходить концентрационная усадка из-за осмотического эффекта, рассмотренного выше.
Наряду с вышерассмотренными факторами, объясняющими изменение коэффициента фильтрации глинистых грунтов при взаимодействии с растворами солей за счет изменения параметров ДЭС, необходимо учитывать и влияние концентрации солей порового раствора на начальный градиент фильтрации глинистых грунтов. Известно, что начальный градиент фильтрации, проявляющийся в глинистых грунтах, обусловлен аномальными структурными особенностями граничных слоев связанной воды вблизи твердой минеральной поверхности грунта. Вследствие этого граничные слои обладают повышенными вязкостью и предельным напряжением сдвига. Поэтому чем больше объемная доля таких слоёв в объеме порового пространства глины, тем больше начальный градиент фильтрации и наоборот.
Соли, растворенные в поровом растворе грунта, влияют на структурные особенности граничных слоев воды, поскольку разные катионы и анионы могут оказывать как упорядочивающее, так и разупорядочивающее влияние на их структуру. Аналогичное действие производят и катионы обменного комплекса глин. Для анализа этого явления необходимо учитывать ионы как положительной, так и отрицательной гидратации. К сожалению, исследований влияния солей на начальный градиент фильтрации пока проведено недостаточно.
Исследованием влияния состава водных растворов солей на фильтрационные особенности глинистых грунтов занимались многие ученые, в том числе Г.М.Берёзкина, В.М.Гольдберг, Р.Э.Дашко, С.С.Морозов, Е.Ф.Мосьяков, В.М.Павилонский, Е.М.Сергеев, Н.П.Скворцов, П.И.Шаврыгин и многие др.
Было установлено, что состав обменных катионов глинистых грунтов, а также почв, заторфованных грунтов, илов и других высокодисперсных грунтов существенно отражается на их фильтрационных свойствах, прежде всего за счет изменения их агрегатного состояния. Каждый привносимый в грунт ион Na+, Ca2+, Mg2+, Al3+, Fe3+ в зависимости от его содержания следует рассматривать либо как диспергатор, либо как коагулянт. Соли одновалентных ионов при их содержании в количестве 1-2% действуют в основном, как диспергаторы, при дальнейшем повышении их содержания оказывают коагулирующее действие. Соли двухвалентных ионов при содержании более 0,5-0,6% и трехвалентных – более 0,06-0,08% способствуют агрегации тонких фракций в породе (Дашко, 2015).
Влияние обменных катионов на фильтрационные свойства глин рассматривается Е.Ф.Мосьяковым (1976). Исследовались глины монтмориллонит-каолинитового состава, насыщенные одно-, двух- и трехвалентными катионами. Автор, отмечая влияние валентности катионов и энергии их активации на уплотненность (пористость) глинистых паст, установил зависимость между коэффициентом фильтрации Kф и пористостью n: Kф = аnb, где а и b — эмпирические коэффициенты. При этом независимо от n коэффициент фильтрации уменьшался по следующему ряду:
Al3+ <Fe3+ < Li+ < Na+ < Mg2+ < К+ < Са2+.
Подобная зависимость обусловлена неоднородностью результирующего влияния факторов: размера ионов, их валентности, химической активности.
Е.Ф.Мосьяков, Ю.Б.Мерков (1976) изучали структурные и фильтрационные изменения глинистых грунтов в шламонакопителях. Так, при многолетних сроках эксплуатации в глинистых экранах происходят структурные изменения за счёт роста кристаллов солей на поверхности глинистых частиц и в поровом пространстве. А это, в свою очередь, приводит к изменению фильтрационных свойств глинистого экрана. Установлено, что количественное содержание водорастворимых солей в глинистом экране и подстилающих четвертичных грунтах имеет тесную корреляционную связь с коэффициентами пористости. Изменение пористости глинистого экрана и подстилающих суглинков (Мосьяков, Мерков, 1976) связано с процессами кристаллизации солей.
Рост кристаллов солей, находящихся в ограниченном поровом пространстве, создаёт значительное кристаллизационное давление, которое раздвигает минеральную скелетную часть грунта, увеличивая его пористость. В поровом пространстве образуются кристаллы CaCl2 и NaCl. С увеличением пористости сильно возрастает коэффициент фильтрации глинистых пород (рис. 7).
Г.М. Березкиной (1980) проводились исследования влияния обменных катионов на абсолютную величину коэффициента проницаемости (Кп) каолиновых и монтмориллонитовых глин. Как показали исследования, проницаемость этих глин, содержащих ионы Na+, на порядок ниже, чем у глин, в поглощенном комплексе которых содержится Са2+.
Кроме того, Г.М.Березкина изучала явление изменения проницаемости во времени в связи с оценкой влияния структурно-текстурных показателей глины на ее фильтрационные свойства. Было отмечено, что при длительных фильтрационных испытаниях проницаемость глинистых пород может значительно уменьшиться. Однако сколько-нибудь значительных изменений в структуре и текстуре глин под влиянием временного фактора не наблюдалось.
Рис. 7. Зависимость между коэффициентом пористости (е) и фильтрации (Kф) глинистого экрана (чёрные кружки) и четвертичных грунтов (белые кружки) (по Мосьякову, Meркову, 1976)
А.М.Монюшко, С.П.Пахомов (1985) также определили, что интенсивность воздействия нейтральных солевых растворов определяется степенью отличия их состава от состава порового раствора глинистой породы. При этом основная роль здесь принадлежит катионам. Различаются два случая: изменение состава порового раствора приводит набухания грунта или приводит к его усадке. Первый случай наблюдается при существенно натриевом составе воздействующего раствора, если его минерализация ниже концентрации натрия в поровом растворе. При длительном воздействии содержание натрия в поровом растворе приближается к его концентрации в фильтрующейся через породу жидкости.
Если воздействующий раствор по сравнению с поровым обогащен двухвалентными катионами, то последние вытесняют натрий из поглощенного комплекса глинистых минералов. Сжатие диффузных оболочек глинистых частиц приводит уплотнению скелета образованию макропористости, расслаивании и другим видами дезинтеграции. Наблюдается усадка и значительное повышение проницаемости глинистой породы. Аналогичный эффект возникает при действии на глинистый грунт натриевых растворов высокой концентрации. В этом случае повышение содержания натрия поровом растворе приводит к понижению степени диссоциации натриевых форм глинистых минералов, что является причиной сжатия диффузных оболочек.
Калиевые растворы при малых концентрациях близки по характеру к натриевым солям. Но при более высоких концентрациях в экспериментах с некоторыми монтмориллонитовыми глинами наблюдались необратимая фиксация ионов калия, приводящая к гидрослюдизации глинистых минералов.
В. М. Гольдберг и Н. П. Скворцов (1986) изучали влияние хлоридных, сульфатных и нитратных растворов на проницаемость глин. В результате исследований оказалось, что по степени влияния на интенсивность роста коэффициента проницаемости (kп), рассматриваемые хлоридные соли располагаются в ряду:
FeCl3> CaCl2> КСl> NaCl.
Принимая во внимание одинаковый анионный состав растворов данных солей, катионные составляющие этого ряда могут быть записаны в следующей последовательности:
Fe3+> Ca2+> К+> Na+.
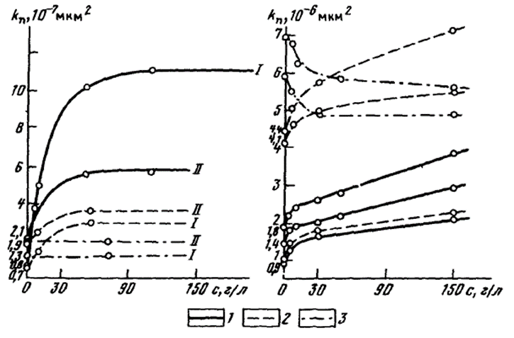
С увеличением минерализации растворов NaCl и CaCI2 коэффициент проницаемости (kп) глин возрастает (рис. 8). Основной прирост значений kп наблюдается в области концентраций до 10—30 г/л. Так, при переходе от дистиллированной воды к хлоридным растворам концентрации 10 г/л проницаемость в зависимости от типа глины и раствора возрастает в 1,5—6,3 раза, а с увеличением концентрации от 10 до 55—60 г/л — в 1,3—2,3 раза. При увеличении же концентрации раствора от 55—60 до 100—115 г/л коэффициент проницаемости практически не меняется.
Наибольший рост проницаемости отмечается в Na-монтмориллонитовых глинах: при переходе от дистиллированной воды к раствору СаС12 (с=55 г/л) величина kп увеличилась в 13 раз, а при переходе от дистиллированной воды к раствору NaCl той же концентрации — в 4,2 раза. В Са-монтмориллоните при тех же условиях проницаемость возросла по растворам: c NaCl в 2 раза; СаС12 в 2,7 раза.
На рисунке 8, б показано влияние минерализации на проницаемость естественной каолинитовой глины. Результаты этих экспериментов также свидетельствуют о том, что с ростом минерализации хлоридных растворов проницаемость каолинита возрастает. В диапазоне минерализации от 0 до 150 г/л величина Кп увеличивается примерно в 2,5 раза при фильтрации раствора NaCl и в 1,34—2,3 раза при фильтрации растворов СаС12. Наиболее значительные изменения коэффициента проницаемости отмечаются в диапазоне минерализации от 0 до 10 г/л. Так, уже при минерализации 3 г/л kп увеличился почти в 1,5 раза. В области концентраций от 10—30 до 150 г/л изменение проницаемости менее значительно.
При фильтрации сульфатных растворов максимальный эффект увеличения проницаемости отмечается для растворов хлористого натрия и калия. Прирост проницаемости по сравнению дистиллированной водой для Na2S04 и K2S04, соответственно, составил 2,76 и 3,08. Исследования показали, что при фильтрации растворов двухвалентных металлов эффект изменения проницаемости оказался минимальным: kп возрастает лишь в 1,38 и 1,62 раза, т. е. гораздо меньше, чем по растворам одновалентных металлов, что соответствует изменению проницаемости при фильтрации хлоридных растворов (NaCI, KCI, CaCI2). При сравнительном анализе результатов выявлен неодинаковый масштаб увеличения Кп по хлоридным и сульфатным растворам одинакового катионного состава. Так, при фильтрации растворов NaCI и KCI коэффициент проницаемости возрастает по сравнению с дистиллированной водой в 1,25 и 1,43 раза, а при фильтрации растворов Na2S04 и K2S04 проницаемость увеличилась по сравнению дистиллированной водой в 2,76 и 3,08 раза, соответственно.
Рис 8. Графики зависимости коэффициента проницаемости Na- и Са-монтмориллонитовой (в) и каолинитовой (б) глин от минерализации и состава фильтрующейся жидкости. Глины: I— Na-монтмориллонит, II — Са-монтмориллонит; растворы: 1 — NaCl, 2 — CaCI2, 3-Na2S04 (по Гольдбергу, Скворцову, 1986)
При изучении влияния нитратных растворов эксперименты выявили аналогичный с предыдущим случаем характер изменения проницаемости: максимальное изменение величины kп по дистиллированной водой отмечался для растворов солей одновалентных щелочных металлов (NaN03 и KN03) — 3,25 и 3,30 раза и в меньшей степени для раствора соли двухвалентного катиона Са(N03)2 — в 1,4 раза. Это показывает, что ростом валентности катионов в глинах kп возрастает, поскольку при этом возрастает содержание связанной и, наоборот, уменьшается содержание осмотической воды и сокращается толщина диффузного слоя.
К.Шейкельфорд и др. исследовали коэффициент фильтрации грунтов, насыщенных растворами NaCl, ZnCl2, CaCl2, и установили, что поровый раствор, содержащий высокую концентрацию одновалентных катионов, а также низкую концентрацию двухвалентных катионов, вызывает значительное увеличение коэффициента фильтрации (Shackelford et al., 2000). Авторы объясняют это, тем что увеличение концентрации уменьшает адсорбционный слой, что, свою очередь ведет, к увеличению коэффициента фильтрации. Это не верное заключение, т.к. толщина адсорбционного слоя не зависит от концентрации электролита, тогда как толщина диффузного слоя, наоборот, зависит от неё.
Й. Джо и др. (Jo et al., 2004) провели испытания по определению коэффициента фильтрации Na-бентонита с использованием растворов 100 ммоль/л KCl и 20 и 40 ммоль/л CaCl2. Было обнаружено, что Kф бентонита уменьшается с уменьшением концентрации соли. При относительно низкой концентрации соли Ca2+ оказывали большее влияние на Кф по сравнению с той же концентрацией раствора Na+. Для проникающих растворов с двухвалентными катионами при увеличении концентрации происходят более значительные и быстрые изменения Кф и влажности. Это происходит в результате более быстрого замещения катионов натрия в обменном комплексе двухвалентными катионами в проникающем растворе.
В ходе испытаний с 100 ммоль/л раствором KCl не произошло практически никаких изменений коэффициента фильтрации и коэффициента пористости по сравнению с дистиллированной водой, даже если K+ заменял Na+ в обменном комплексе. С другой стороны, напротив, для растворов CaCl2 (20 ммоль/л и 40 ммоль/л) коэффициент фильтрации увеличивался, а свободное набухание и влажность уменьшались по мере обмена Ca2+ на Na+. Заметные изменения проницаемости и обменного комплекса произошли в испытаниях с 40 ммоль/л раствором CaCl2. Коэффициент фильтрации, полученный при использовании 20 ммоль/л CaCl2 был меньше, а влажность больше, чем в случае использования 40 ммоль/л в растворе CaCl2 (2,6х10-8 см/с против 6,7х10-8 см/с, или 122% против 111% и 3,2 против 2,9, соответственно). То есть, в бентоните, пропитанном более разбавленным раствором CaCl2, удерживается больше воды несмотря на то, что оба бентонита в конце испытаний становятся Ca-бентонитами.
Кроме того, Й.Джо и др. (Jo et al., 2004) провели испытания влияния предварительной гидратации дистиллированной водой бентонитов на Кф. Предварительно гидратированный бентонит имеет более низкий Кф (1,9х10-8 см/с), чем бентонит, сразу пронизанный 40 ммоль/л раствором CaCl2 (6,7х10-8 см/с). Это позволяет предположить, что более низкий коэффициент фильтрации обусловлена удержанием связанной воды. Проникающие растворы с более высокой концентрацией, вероятно, вызывают большее вытеснение молекул воды, поскольку осмотический градиент между свободной и связанной водой больше.
А.Таммативат и У.Чимой (Thammathiwat, Chimoye, 2010) исследовали влияние растворов одновалентных (LiCl, NaCl и KCl), двухвалентных (CaCl2, MgCl2 и CuCl2) и трехвалентных (FeCl3) солей на набухание и коэффициент фильтрации глинистых грунтов и подтвердили, что при одинаковой концентрации набухание грунтов больше с одновалентными катионами, чем с растворами двухвалентных и трехвалентных катионов. Для грунтов, насыщенных растворами, содержащими двух- или трехвалентные катионы, наблюдалось более высокое значение коэффициента фильтрации по сравнению с одновалентными катионами или дистиллированной водой, что объясняется уменьшением толщины диффузного слоя, что в свою очередь приводит к увеличению пористости грунта.
К.Ксу и др. (Xue et al., 2012) изучали влияние растворов солей высокой концентрации (MgCl2, CaCl2, NaCl и KCl) на коэффициент фильтрации бентонитов и подтвердили, что коэффициент фильтрации увеличивается в несколько раз при фильтрации растворов более высокой концентрации по сравнению с проницаемостью грунтов с дистиллированной водой. Ими подтверждено, что коэффициент фильтрации монтмориллонитовых глин в зависимости от состава солей порового раствора увеличивается в ряду:
CaCl2> MgCl2 > KCl > NaCl.
С ростом валентности катионов в глинах Кф возрастает, поскольку при этом возрастает содержание связанной воды и, наоборот, уменьшается содержание осмотической воды, т.к. сокращается толщина диффузного слоя. Представленный ряд находится в соответствии с аналогичным рядом активности катионов по энергии их поглощения (адсорбции) глинами. Степень диссоциации глинистых минералов в водной среде обусловливает образование диффузного слоя, который определяется характером катионов. По убыванию степени диссоциации устанавливается ряд: Na+>К+>Мg2+>Са2+. Отсюда, наиболее мощный диффузный слой, а, следовательно, наименьшую проницаемость можно ожидать у монтмориллонитовых глин, содержащих катионы натрия. И, наоборот, относительно слабо развитый диффузный слой, и поэтому более высокую проницаемость, следует ожидать у каолинитовых глин, в особенности содержащих катионы кальция или трёхвалентного железа. Все это позволяет увязывать фильтрационные свойства глин с составом обменных катионов и их емкостью обмена, а также регулировать их с помощью ионного обмена.
В случае сравнительного анализа влияния катионов одинаковой валентности необходимо учитывать различия радиусов гидратированных катионов и их влияние на коэффициент фильтрации. Этот фактор изучали Т.В. Бхарат и др. (Bharat T.V., Partha Das, 2020). Для этого были проведены три серии испытаний с использованием различных электролитов с катионами одинаковой валентности. Серии состояли из 0,01, 0,1, 0,5 и 1 молярного водного раствора LiCl, NaCl и KCl. Они установили, что с уменьшением катионного радиуса обменных ионов коэффициент фильтрации увеличивается (рис. 9). Увеличение было значительным при концентрации 1 М, при которой коэффициент фильтрации в присутствии иона Li+ составлял 1,88×10-8 см/с, а в присутствии иона K+ он наблюдался на уровне 5,58×10-7 см/с, то есть увеличился почти в 29 раз.
При этом наименьшее увеличение, однако, наблюдалось для концентрации 0,01М. Таким образом, уменьшение радиуса катионов одинаковой валентности приводит к увеличению степени их гидратации и росту коэффициента фильтрации. Это связано с увеличением при этом агрегированности частиц с ростом радиуса катионов, что в свою очередь приводит увеличению эффективного размер пустот, изменяя их от микропор к макропорам, в результате чего увеличивается коэффициент фильтрации грунтов.
Рис. 9. Изменение коэффициента фильтрации в зависимости от концентрации соли различных электролитов (Bharat et al., 2020)
Таким образом, фильтрационная проницаемость глинистых грунтов по растворам солей существенно зависит от минерализации и состава фильтрующейся жидкости: под влиянием концентрированных водных растворов солей проницаемость значительно возрастает по сравнению с проницаемостью того же грунта для пресной воды. В зависимости от минерального типа глин, минерализации и состава фильтрующейся жидкости и поглощенных катионов коэффициент проницаемости и коэффициент фильтрации глин может меняться в несколько раз или даже на несколько десятичных порядков. Увеличение проницаемости глин обусловлено сложными процессами физико-химического взаимодействия фильтрующейся жидкости с грунтом. В условиях длительной фильтрации изменение проницаемости существенно зависит от фактора времени.
Результаты исследований влияния состава (и минерализации) растворов солей показывают, что для различных видов фильтрующихся растворов проницаемость глин выше, чем для пресной воды. При взаимодействии глинистых грунтов с растворами солей в результате катионного обмена одновалентных ионов на многовалентные происходит уменьшение толщины диффузного слоя, которая будет также подавляться под влиянием роста концентрации раствора, вследствие чего происходит изменение структуры порового пространства и рост фильтрационных характеристик глинистых грунтов.
Анализ опубликованной литературы по данной теме показал, что основные закономерности под влиянием состава и концентрации растворов солей на фильтрационные характеристики глинистых грунтов уже установлены и подтверждены многими учеными. Тем не менее, имеются некоторые пробелы в изучении изменения микростроения глинистых грунтов, их начального градиента фильтрации под влиянием состава и концентрации фильтрующихся растворов солей, мало работ проведено на грунтах природного сложения, что требует дальнейшего изучения.