В статье рассказывается о трех основных методах определения предела прочности горных пород при одноосном растяжении/сжатии образцов. В связи с тем, что подобные испытания проводятся во все большем количестве, а сроки, отводящиеся на их выполнение, становятся все более сжатыми, автор предлагает применение метода, который заключается в разрушении образцов произвольной формы встречными сферическими инденторами. Для проведения испытаний в статье рекомендуется применение нового оборудования ПСН-0.16.10 и ПСН-1.14.10, разработанного специалистами ООО «ПрогрессГео».
В настоящее время испытания скальных грунтов и горных пород методом одноосного сжатия приобретают все большую важность в инженерно-геологических изысканиях. Во многих регионах нашей страны и за её пределами постоянно растет потребность в проведении большого количества качественных испытаний скального грунта, что, в свою очередь, требует применения новых методик и современного оборудования, позволяющих в кратчайшие сроки и с минимальными ресурсными и финансовыми затратами выполнять эти исследования без потери качества.
На сегодняшний день существует три основных метода определения предела прочности горных пород при одноосном растяжении/сжатии образцов. Они описаны в ГОСТ 21153.3-85 и ГОСТ 24941-81 [1, 2].
Первый метод заключается в определении предела прочности цилиндрических и призматических образцов прямым растяжением. Метод предназначен для получения показателя предела прочности породы по слабейшему поперечному сечению образца при одноосном растяжении в направлении его оси, заданном относительно сложения (слоистости) породы.
Сущность метода заключается в проведении испытаний цилиндрических или призматических образцов. Исследование сводится к измерению разрушающей силы при продольном растяжении образца через стальные обоймы загрузочного устройства.
Второй метод предполагает разрушение цилиндрических образцов сжатием по образующей. Он предназначен для массовых испытаний с целью определения предела прочности горной породы по определенному сечению образца при одноосном растяжении в направлении, заданном относительно сложения (слоистости) породы.
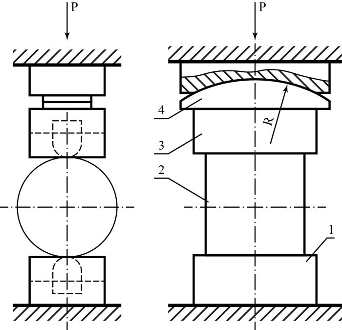
Сущность метода заключается в проведении испытаний цилиндрических образцов. При испытании измеряются значения разрушающей силы, приложенной через стальные встречно направленные плиты или клинья нагрузочного устройства к образующим образца на его диаметральном сечении, ориентированном заданным способом относительно сложения (слоистости) породы. Схема нагружения представлена на рисунке 1.

Рис. 1. Схема нагружения образца. 1 — нижняя плита (нижний клин); 2 — образец; 3 — верхняя плита (верхний клин); 4 – сегмент
Третий метод заключается в разрушении образцов произвольной формы встречными сферическими инденторами. Метод предназначен для исследовательских и массовых испытаний горных пород в лабораторных и полевых условиях с целью определения предела прочности при одноосном растяжении в направлении, перпендикулярном к слабейшему сечению, проходящему через ось нагружения образца.
Сущность метода заключается в измерении разрушающей силы, приложенной к образцу через стальные встречно направленные сферические инденторы. Схема нагружения представлена на рисунке 2 [2].

Рис. 2. Схема нагружения образца. 1 — корпус; 2 — нижний шток; 3 — вкладыш; 4 -индентор; 5 — верхний шток
Наибольший интерес представляет третий метод испытания скальных грунтов (горных пород), поскольку он имеет ряд преимуществ относительно первых двух в условиях массовых испытаний. Основным его преимуществом является высокая скорость выполнения работ, т.к. метод позволяет испытывать образцы произвольной формы, не требуя предварительной подготовки грунта, что, как правило, и занимает большую часть времени в испытании. Кроме того, подготовка образца грунта для испытаний по первым двум методам требует дополнительных площадей и обеспечения специальных условий труда, связанных с очисткой рабочего пространства от мусора и пыли, что весьма трудно, а иногда и невозможно организовать в лабораторных условиях.
Проведение испытания по третьему методу проводится в три этапа:1. Образец устанавливается между инденторами таким образом, чтобы ось нагружения образца была ориентирована относительно строения (слоистости) породы в соответствии с заданным направлением растяжения породы.2. Образец равномерно нагружается до разрушения со скоростью 0,1-0,5 кН/с.3. Затем определяется величина площади поверхности разрыва образцов в см2 с погрешностью до 0,10 см2.
Предел прочности при одноосном растяжении (σp, МПа) каждого образца вычисляется по формуле:
Рис. 3. Прибор для испытания скальных грунтов по ГОСТ 21153.3-85 «ПСН-0.16.10»
Табл. 2. Технические характеристики прибора для испытания скальных грунтов
|
Привод гидравлический |
|
|
Максимальная осевая нагрузка |
100 кН |
|
Погрешность измерений |
+/- 0,5 кН |
|
Максимальное рабочее давление |
200 бар |
|
Рабочий ход поршня |
110 мм |
|
Габариты образца |
100х100х100 мм |
|
Габариты прибора ДхШхВ |
520х490х680 мм |
|
Масса прибора в сборе |
55 кг |
Прибор ПСН-0.16.10 комплектуется программным обеспечением, позволяющим проводить автоматизированную обработку результатов опыта, включая автоматический расчет площади скола образцов по отсканированной проекции поверхности скола. Обработка происходит по алгоритму, описанному выше, в соответствии с ГОСТ 21153.3-85 и ГОСТ 24941-81.
Все эти преимущества позволяют значительно повысить скорость проведения испытаний, уменьшить погрешность результатов, а также получить отличные эксплуатационные качества и максимальную экономическую отдачу.

Рис. 4. Результаты обработки данных в соответствии с ГОСТ 21153.3-85 и ГОСТ 24941?81 на программном обеспечении PG-TEST «ПрогрессГео»
Также существуют модификации приборов ПСН, оснащенные высокоточным датчиком перемещения и соответствующим контролером для выгрузки данных опыта в компьютерный интерфейс. Таким образом, данная модификация прибора (ПСН-1.14.10) позволяет проводить испытания не только для определения предела прочности горных пород, но и испытания на деформируемость.

Рис. 5. Прибор для испытания горных пород по ГОСТ 21153.3-85 и ГОСТ 24941?81 «ПСН-1.14.10»
Табл. 3. Технические характеристики прибора для испытания горных пород
|
Привод механико-гидравлический |
|
|
Максимальная осевая нагрузка |
100 кН |
|
Погрешность измерений |
+/- 0,5 кН |
|
Максимальное рабочее давление |
200 бар |
|
Рабочий ход поршня |
110 мм |
|
Габариты образца |
100х100х100 мм |
|
Габариты ДхШхВ |
520х490х680 мм |
|
Масса прибора в сборе |
60 кг |
В качестве результатов испытания на деформируемость определяются статический контактный модуль остаточной деформации горной породы и статический контактный модуль упругости горной породы.
В тоже время, на приборе ПСН-1.14.10, оснащенном контроллером преобразования данных, имеется возможность выгрузки числовых значений измеряемых величин в режиме реального времени на протяжении всего опыта, что позволяет получить наиболее информативную и точную деформационную характеристику породы. Пример испытания представлен на рисунке 6.

Рис. 6. Результаты обработки данных эксперимента на программном обеспечении PG-TEST «ПрогрессГео»
В качестве дополнительного оборудования на приборах серии ПСН можно применять сменные плоские штампы (рис. 7), выполненные в соответствии с ГОСТ 21153.3-85 (см. рис. 1). Это, в свою очередь, позволяет проводить испытания в целях комплексного определения пределов прочности и одноосного растяжения/сжатия.

Рис. 7. Сменные плоские штампы (ГОСТ 21153.3-83)
Данный метод заключается в измерении разрушающей силы при многократном раскалывании образцов пластинчатой и брусчатой формы и определения предела прочности при сжатии, то есть в измерении разрушающей силы сжатия, полученной при раскалывании образцов кубообразной формы. Образец нагружают равномерно со скоростью 1-5 МПа/с до раскалывания сначала на бруски, затем по поперечным линиям на кубики полуправильной формы. Диски диаметром 40-60 мм раскалывают на четыре части. При каждом раскалывании образца записывают разрушающую силу в килоньютонах и среднюю длину линии раскола в сантиметрах, которую измеряют штангенциркулем с погрешностью не более ±0,05 см.
Предел прочности при одноосном растяжении (σкр) в МПа для каждого образца вычисляют по формуле
Рис. 8. География использования оборудования «ПрогрессГео» для испытания горных пород 
Приборы ПСН внесены в Государственный реестр средств измерений.