В преддверии конференции «Грунтовая лаборатория – 2018» редакция журнала «ГеоИнфо» запускает серию публикаций, посвященных лабораторным исследованиям грунтов.
В настоящей статье рассматриваются термины, описывающие состояния грунта: «показатель текучести» и «консистенция». Доказывается их различная физико-химическая природа. Приводятся способы применения лабораторного пенетрометра Бойченко для определения консистенции, пределов пластичности и выбора вертикальных нагрузок для определения прочностных свойств грунтов при срезных испытаниях.
Автор статьи является руководителем группы по разработке 6 государственных стандартов в области лабораторных испытаний грунтов для строительства.
Показатель текучести, наряду с гранулометрическим составом, естественной (природной) влажностью, плотностью грунта, плотностью частиц грунта, числом пластичности является важнейшим классификационным показателем грунта: свойство грунта I порядка – объективный критерий естественноисторического образования, существующий вне зависимости от применяемого метода его определения.
В настоящее время, как в теоретическом грунтоведении, так и в практике лабораторных исследований грунтов для целей инженерных изысканий широко используется показатель текучести IL
IL=W-Wp/WL-Wp , (1)
Согласно ГОСТ 25100-2011 «Грунты. Классификация» (Приложение Б, таб. Б19) по показателю текучести (IL) в соответствии с частной инженерно-геологической классификация грунтов, все связные дисперсные минеральные грунты разделены согласно таблице 1 [1].

Рис. 1. Конус (пенетрометр) П.О. Бойченко. Общий вид
Таблица 2. Классификация грунтов по показателю консистенции
| Глубина погружения конуса, h в мм. | Св | Консистенция |
| < 1,5 | < -0,25 | твердая |
| 1,5 – 4,0 | -0,25 — 0 | полутвердая |
| 4,0 – 7,4 | 0 — 0,25 | тугопластичная |
| 7,4 – 16,0 | 0,25 — 0,75 | мягкопластичная |
| 16,0 – 22,5 | 0,75-1.00 | текучепластичная |
| > 22,5 | >1.00 | текучая |
Таблица 3. Переход от величины погружения конуса (h) к показателю консистенции грунта Св
| h мм | Св | h мм | Св | h мм | Св | h мм | Св | h мм | Св | h мм | Св |
| 1.0 | -0.27 | 4.6 | 0.05 | 8.2 | 0.31 | 11.8 | 0.53 | 17.0 | 0.78 | 35.0 | 1.44 |
| 1.2 | -0.25 | 4.8 | 0.07 | 8.4 | 0.32 | 12.0 | 0.55 | 18.0 | 0.82 | 36.0 | 1.47 |
| 1.4 | -0.23 | 5.0 | 0.08 | 8.6 | 0.33 | 12.2 | 0.56 | 19.0 | 0.86 | 37.0 | 1.50 |
| 1.6 | -0.21 | 5.2 | 0.09 | 8.8 | 0.35 | 12.4 | 0.57 | 20.0 | 0.90 | 38.0 | 1.54 |
| 1.8 | -0.19 | 5.4 | 0.11 | 9.0 | 0.36 | 12.6 | 0.58 | 21.0 | 0.94 | 39.0 | 1.58 |
| 2.0 | -0.17 | 5.6 | 0.12 | 9.2 | 0.37 | 12.8 | 0.59 | 22.0 | 0.98 | 40.0 | 1.61 |
| 2.2 | -0.16 | 5.8 | 0.13 | 9.4 | 0.39 | 13.0 | 0.61 | 23.0 | 1.02 | 41.0 | 1.64 |
| 2.4 | -0.13 | 6.0 | 0.15 | 9.6 | 0.4 | 13.2 | 0.62 | 24.0 | 1.06 | 42.0 | 1.67 |
| 2.6 | -0.12 | 6.2 | 0.16 | 9.8 | 0.41 | 13.4 | 0.63 | 25.0 | 1.10 | 43.0 | 1.70 |
| 2.8 | -0.09 | 6.4 | 0.17 | 10.0 | 0.43 | 13.6 | 0.64 | 26.0 | 1.13 | 44.0 | 1.73 |
| 3.0 | -0.08 | 6.6 | 0.2 | 10.2 | 0.44 | 13.8 | 0.65 | 27.0 | 1.17 | 45.0 | 1.77 |
| 3.2 | -0.07 | 6.8 | 0.21 | 10.4 | 0.45 | 14.0 | 0.66 | 28.0 | 1.20 | 46.0 | 1.85 |
| 3.4 | -0.05 | 7.0 | 0.23 | 10.6 | 0.46 | 14.2 | 0.67 | 29.0 | 1.24 | 47.0 | 1.87 |
| 3.6 | -0.03 | 7.2 | 0.24 | 10.8 | 0.47 | 14.4 | 0.68 | 30.0 | 1.27 | 48.0 | 1.89 |
| 3.8 | -0.01 | 7.4 | 0.25 | 11.0 | 0.48 | 14.6 | 0.69 | 31.0 | 1.30 | ||
| 4.0 | 0.00 | 7.6 | 0.27 | 11.2 | 0.49 | 14.8 | 0.7 | 32.0 | 1.33 | ||
| 4.2 | 0.01 | 7.8 | 0.28 | 11.4 | 0.5 | 15.0 | 0.71 | 33.0 | 1.37 | ||
| 4.4 | 0.03 | 8.0 | 0.29 | 11.6 | 0.52 | 16.0 | 0.74 | 34.0 | 1.40 |

Рис. 2. График зависимость Св от h
Грунты по показателю текучести IL могут отличаться (и отличаются) от показателя консистенции СB. Для оценки естественного состояния грунта вводится показатель структурный прочности грунта:
Ксп = СB — IL (2)
где, СB – показатель консистенции, IL – показатель текучести.
По этому простому показателю грунты можно разделить на две группы:
Ксп > 0 – грунты структурно устойчивые, Ксп ≤ 0 – грунты структурно неустойчивые; и Ксп = 0 – грунты структурно однородные
Например, между двумя показателями консистенции IL и СB для грунтов Санкт-Петербурга и Ленинградской области существует взаимосвязь (рис 3).

Рис. 3. График зависимости показателя текучести и консистенции для моренных (g) и озерно-ледниковых (lg) отложений территории Санкт-Петербурга (по данным «Трест ГРИИ»).
Анализируя данный график, можно констатировать, что на основании показателя IL грунты в нарушенном состоянии характеризуются как менее прочные, чем по СB, характеризующего грунты в естественном сложении. Смещения наименования консистенции по показателю IL в сравнении с СB могут достигать 2–4 подформ для озерно-ледниковых грунтов, что связано с их высокой структурной прочностью. И наоборот для ледниковых супесей возможно СB> IL, что связано с низкой структурной прочностью и погрешностями определения пределов пластичности. Таким образом, сравнение этих показателей дает возможность оценить структурную прочность грунта. Следовательно, определив Св и IL, и воспользовавшись этим графиком, можно достаточно уверенно определить генезис грунта. Или, зная один из показателей консистенции, определить или проконтролировать другой.
Важнейшим классификационным показателем глинистых грунтов является число пластичности. Понятно, что пределы пластичности в общем виде характеризуют тип структурных связей между отдельными элементами грунтовой системы. Если верхний предел пластичности (предел текучести) характеризует, по всей вероятности, переход структурных связей в грунте от ближних коагуляционных контактов к преимущественно дальним, то нижний, соответственно, переход ближних коагуляционных контактов к переходным (частично цементационным). Вопрос о типе микростроения грунтов при влажностях нижнего и верхнего пределов пластичности и, соответственно, типах контактов между отдельными частицами грунта прояснит применение растровой электронной микроскопии с применением 3D-томографа.
Главным преимуществом применения конуса Бойченко является определение пределов пластичности грунта одним прямым методом (одним усилием), что полностью исключает субъективность лабораторного определения данных показателей разными методами (методом погружения балансировочного конуса Васильева в грунт для предела текучести и методом раскатывания грунта в жгут для определения предела раскатывания).
Консистенция грунта при погружении конуса на 22,5 мм соответствует влажности верхнего предела пластичности, а на 4 мм – влажности нижнего предела пластичности. Одну пенетрацию следует проводить при влажности грунта, соответствующей погружению конуса от 3 до 6 мм, а вторую от 18 до 25 мм, т.к. зависимость между глубиной погружения конуса и влажностью грунта, построенная в логарифмическом масштабе, близка к линейной.
Грунт для определения нижнего предела увлажняют, если он находится в твердой или полутвердой консистенции, или подсушивают, если он слишком влажный. Затем укладывают слоями с послойным трамбованием в стандартное срезное кольцо диаметром 50 и высотой 20 мм. Кольцо устанавливают на основание пенетрометра, подводят конус к поверхности грунта, нажимают кнопку и дают возможность конусу внедрится в грунт в течение 5 секунд. Проводят 3–5 измерений. Глубина погружения конуса в грунт должна находиться в диапазоне от 3 до 6 мм. После проведения пенетрации грунт из кольца отбирают для определения влажности.
Для определения верхнего предела пластичности грунт протирают через сито 1 мм, увлажняют, тщательно перемешивают и укладывают в кольцо диаметром 50 мм и высотой 30 мм. Производят пенетрацию, глубина погружения конуса должна находиться в интервале глубин 18–25 мм. Аналогичным способом отбирают грунт для определения влажности.
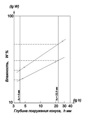
После определения влажности грунта строится простая зависимость lgW=f(lgh) и по номограмме определяется верхний и нижний пределы пластичности грунта lgWP=f(lg22,5) и lgWP=f(lg4) (рис. 4).

Рис. 4. Графический способ установления численных значений пределов пластичности по логарифмической сетке (по П.О. Бойченко [2]): W — влажность грунта, %; h — глубина погружения конуса Бойченко в грунт, мм; hA — глубина погружения конуса при нижнем пределе пластичности (4 мм); hB — глубина погружения конуса при верхнем пределе пластичности (22,5 мм).
Конус Бойченко незаменим при определении консистенции грунта в полевых условиях. Это, по существу, единственный объективный показатель состояния грунта при работе с водонасыщенными, тиксотропными и скрытотекучими грунтами, т.е. с теми грунтами, которые могут (и меняют) свое исходное состояние при транспортировке образца в стационарную грунтовую лабораторию. Применение конуса Бойченко снимает многие (если не все) вопросы исходного состояния грунта. Порой это единственный аргумент в бесконечных (и бессмысленных) спорах с проектировщиками, исповедующими устаревшие представления о механических свойствах грунта и пытающихся диктовать схемы определения прочностных свойств грунтов (КН и особенно КД-схемы проведения испытаний водонасыщенных глинистых и пылевато-глинистых грунтов) с учетом т.н. «бытового давления». Применение конуса Бойченко позволяет избавиться от совершенно фантастических чисел, которые выдают некоторые грунтовые испытательные лаборатории в своих отчетных материалах и которые в реальной природной обстановке просто отсутствует.
Наконец, третьим (по счету, но не по важности) преимуществом показателя СB является методологически правильный, учитывающий естественное сложение грунта выбор нормальных давлений ( σ1) для определения прочностных свойств (с и φ) грунтов при производстве одноплоскостных срезных испытаний по неконсолидированно-недренированной схеме.
В 1975 году профессор кафедры грунтоведения Ленинградского университета И.П. Иванов разработал теорию естественной прочности грунта: грунт реагирует на внешние воздействия, начиная (и заканчивая так же) с какой-то определенной величины. И эта величина зависит, прежде всего, от исходного состояния грунта [6]. Сущность метода определения естественной прочности заключается в правильном выборе нормальных давлений, значения которых должны находится в строго определенном для данного грунта интервала и не вызывать с одной стороны растягивающих напряжений, а с другой стороны доуплотнения грунта или появления порового давления. Величина нормальных давлений должна находиться в диапазоне от σmin до σmax. При нормальных давлениях менее σmin возникают растягивающие напряжения, что занижает сопротивление сдвигу. При давлениях более σmax изменяется исходное физическое состояние грунта, неводонасыщенный грунт доуплотняется, что приводит к увеличению прочности, у водонасыщенного грунта возникает поровое давление, что приводит к снижению получаемых прочностных характеристик грунта. В общем виде значение нормальных вертикальных давлений, исходя из теории естественной прочности грунта, представлены в таблице 4.
Таблица 4. Значения нормальных давлений при одноплоскостном срезе (по данным «Трест ГРИИ»)
| IL | СВ | Консистенция | Глубина погружения конуса, мм | ||
| по ГОСТу | реальные | ||||
| >1,0 | 0,25-0,75-1,25 | 0,25-0,5-0,75? | >0,5 | >22,5-11,3 | |
| 0,5-1,0 | 0,5-1,0-1,5 | 0,25-0,5-0,75-1,0? | 0,5 – 0,25 | тек/пл – м/пл | 11,3-7,4 |
| 0,5-0,25 | 0,5-1,0-1,5? | 0,25 – 0 | т/пл | 7,4-4 | |
| 0,25-0 | 1,0-1,5-2,0 | ≤0 | полутвердая | 4-3 | |
| <0 | 1,0-2,0-3,02,0-3,0-4,0 | 0 – -0,25 | п/тв – твердая | 3-22-1.5 | |
| <0 | 2,0-4,0-6,0 | < -0,25 | твердая | <1,5 | |
Особую актуальность понятие «консистенция грунта» и его смысловое наполнение приобрело в последнее время, когда лидером современного мирового генетического грунтоведения академиком РАН В.И. Осиповым была предложена теоретически безупречная и имеющая широчайшее практическое применение «теория эффективных напряжений в грунтах» (теория Терцаги-Осипова). Консистенция грунта, на наш взгляд, полностью вписывается в данную теорию как самостоятельный показатель категории грунта естественного сложения.
Необходимо отметить, что определение консистенции грунта в естественном сложении широко применяется в практике лабораторных испытаний грунтов в Санкт-Петербурге (Ленинграде) с середины 70-х гг. ХХ века ведущими изыскательскими организациями и зарекомендовал себя как очень полезный и крайне информативный показатель со всех точек зрения.
Теория и практика лабораторной пенетрации грунтов требует совершенно отдельного разговора. Достаточно полное описание применения данного метода нашло свое отражение в работах В.Ф. Разоренова [7], И.П. Иванова [6], Н.П Иваниковой [5]. Особенно подробно метод рассмотрен в исследованиях Е.Н. Богданова [3, 4].
На наш (и не только) взгляд, сам метод пенетрации грунтов (различными конусами с углами при вершине 30°, 60°, 90° и сферическим штампом) незаслуженно забыт и вообще исключен из практики лабораторных испытаний грунтов, хотя по мнению некоторых ученых, которое мы вполне разделяем, таит в себе явные преимущества в сравнении с другими методами определения прочностных свойств грунтов [3, 4].
1. Необходимо четко, на понятийном уровне разделить показатели состояния грунтов: показатель текучести – IL – оставить для грунтов нарушенной структуры, а показатель консистенции – СВ – за грунтами ненарушенной структуры.
2. Ввести понятие консистенции грунта ненарушенного сложения в отечественные нормативные документы.
Исходя из исключительной важности физико-химического показателя состояния грунта – консистенции грунта в естественном сложении Охотинское общество грунтоведов и Трест геодезических работ и инженерных изысканий инициировал и разработал ГОСТ 34276-2017 «Грунты. Метод лабораторного определения удельного сопротивления пенетрации» введенный в действие с 01.03.2018. К сожалению, данный нормативный документ был существенно урезан, ибо в процессе обсуждения противниками разделения данных терминов («показатель текучести грунтов» в нарушенном строении и «консистенция грунтов» в естественном сложении выступили представители проектировщиков, мотивируя это исключительно тем, что в существующих нормативных документах он отсутствует.
Тем не менее, существует рабочая инструкция (стандарт предприятия) для комплексного использования данного лабораторного метода в практике испытаний грунтов для строительства (РИ-06-2015 – полный текст размещён на сайте Охотинского общества грунтоведов – www.okhotin-grunt.ru), которая успешно используется грунтовыми испытательными лабораториями во всех регионах Российской Федерации.
Немаловажно, что финансовые затраты производственных организаций в объеме определения консистенции, верхнего и нижнего пределов пластичности грунтов минимальны: конус Бойченко серийно выпускается рядом отечественных компаний по производству лабораторного оборудования.
Авторы надеются, что здравый смысл возобладает и в учебно-методической литературе, и в нормативных документах, регламентирующих лабораторные испытания грунтов для строительства, будут четко определены совершенно различные показатели состояния грунтов «показатель текучести» – для грунтов в нарушенном сложении и «показатель консистенции» – для грунтов в естественном сложении.