В статье предложен расчет напряженно-деформированного состояния основания под кольцевым свайным фундаментом при действии равномерно распределенной нагрузки по кольцу и кругу с использованием методов К.Е.Егорова и вычисление осадки по методике, применяемой для ленточных свайных фундаментов. Приведены предложенные и использованные конструкция и технология устройства фундаментов большеобъемных резервуаров с плавающей крышей. Представлены результаты натурных наблюдений за осадками емкостей в период гидравлических испытаний.
При проектировании оснований и фундаментов для большеобъемных вертикальных стальных цилиндрических резервуаров с плавающей крышей особое внимание уделяется расчетам по деформациям. Опасность возникновения существенных неравномерных осадок по периметру резервуара может привести к развитию недопустимых напряжений в сварных соединениях стенки и днища, к возникновению крена и заклиниванию конструкции плавающей крыши.
Как показали исследования [1], наибольшие напряжения и деформации возникают в районе уторного узла резервуара на расстоянии 3 – 4 м от стенки большеобъемных емкостей (V≥10 тыс. м3). С целью обеспечения нормальной работы конструкций вертикальных стальных цилиндрических резервуаров в период эксплуатации необходимо на стадии проектирования правильно оценить величину осадки различных точек днища и стенки, а также степень неравномерности указанных перемещений.
Широко используемые в практике фундаменты стальных резервуаров представляют собой кольцевые или круглые плиты, опирающиеся на песчано-гравийные подушки или сваи. Многочисленные экспериментальные исследования показывают, что устройство под стенкой резервуара жесткого монолитного железобетонного кольца позволяет снизить неравномерность осадок по периметру резервуара. Применение кольцевой свайной обоймы, в условиях слабых грунтов препятствующей выпору грунта из-под днища резервуара и ограничивающей горизонтальные перемещения грунта, также позволяет уменьшить среднюю осадку основания [2].
Расчет осадки кольцевого фундамента под стенку резервуара рекомендуется определять на базе решения осесимметричной задачи теории упругости. Для определения вертикальных компонент напряжений σz для фундаментов круглой и кольцевой формы К.Е.Егоровым [3] предложены зависимости, представленные в следующем виде:
для круглого фундамента, радиусом R (рис. 1):
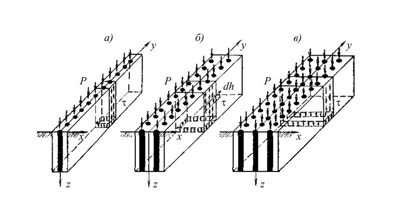
Рис. 1. Схема к определению осадок круглого фундамента, нагруженного равномерно распределенной нагрузкой Рис. 2. Схема к определению осадок кольцевого фундамента, нагруженного равномерно распределенной нагрузкой Рис. 3. Ленточные свайные фундаменты с расположением свай в один ряд (а), в два ряда (б), в три ряда (в)


Проведенные в Пермском государственном техническом университете под руководством проф. А.А.Бартоломея экспериментальные исследования работы ленточных свайных фундаментов в различных грунтовых условиях позволили предложить общую методику расчета осадок таких фундаментов при расположении свай в один, два и три ряда (рис. 3) [4,5,6].
Разработанный метод учитывает такие факторы, как глубина приложения нагрузки и передача ее через боковую поверхность и в плоскости острия свай, размеры фундамента, коэффициент бокового расширения грунта, напряжения и деформации во всей активной зоне.
При анализе закономерностей передачи нагрузки сваями грунтам основания установлены следующие зависимости:
характер передачи нагрузки через боковую поверхность свай:
Рис. 4. Конструкция кольцевого свайного фундамента для резервуара, в основании которого была обнаружена линза слабого грунта
После возведения резервуаров проводились их гидравлические испытания, во время которых были установлены регулярные геодезические наблюдения за осадками емкостей. В ходе наблюдений проводилась нивелировка металлических марок, которые приваривались к стенкам резервуаров с шагом 6 м по периметру. Резервуары заполнялись водой ступенями 2,5 м; 6,0 м; 11,0 м и 17,4 м согласно технологической карте проведения гидравлических испытаний. После каждой ступени нагружения определялись высотные отметки марок и приращение деформаций. На основании полученных данных построены графики развития осадок во времени с учетом загрузки основания (рис. 5).

Рис. 5а. Графики развития осадок во времени: а) — для резервуара, основание которого представлено согласным напластованием грунтов (длина свай l=6 м);

Рис. 5. Графики развития осадок во времени: б) – для резервуара, в основании которого расположена линза слабого грунта (длина свай l=9 м).
По результатам наблюдений получены следующие результаты:
I. Для резервуара, в конструкции фундамента которого использованы 6-ти метровые сваи:
а)средняя осадка (ΔSср) конструкции по периметру при заполнении до отметки 17,4 м составила 18 мм;
б)максимальная осадка (ΔSmax) по периметру емкости – 22 мм;
в)максимальная неравномерность осадки (ΔS) по периметру – 11 мм.
II. Для резервуара, в конструкции фундамента которого использованы 9-ти метровые сваи:
а)средняя осадка (ΔSср) конструкции по периметру при заполнении до отметки 17,4 м составила 12 мм;
б)максимальная осадка (ΔSmax) по периметру емкости – 16 мм;
в)максимальная неравномерность осадки ( ΔS) по периметру – 11 мм.
Использование 9-ти метровых свай в кольцевом свайном фундаменте на неоднородном основании позволило снизить среднее значение неравномерности осадки по периметру резервуара в 1,8 раза (рис. 5, б).